360防黑加固强势升级 一键检测服务器账号安全
2018年03月05日 13:27:41
来源:楚北网
原标题:360防黑加固强势升级 一键检测服务器账号安全 近期,勒索病毒GlobeImposter
原标题:360防黑加固强势升级 一键检测服务器账号安全
近期,勒索病毒GlobeImposter先后入侵国内多家医院,在造成医院业务一段时间内无法正常运行的同时,也为服务器安全敲响了警钟。当前,以勒索病毒为首的服务器攻击大多利用弱口令爆破手段,如果系统管理员的密码设置比较简单,很容易被黑客远程入侵。
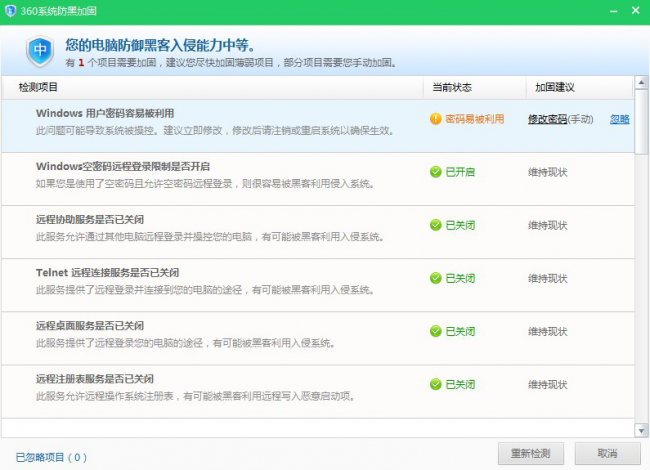
为从根源上防御病毒登录控制服务器,360安全卫士日前全新升级“防黑加固”,以目前最完善的密码字典库,为用户提供弱密码自动排查服务,并提醒存在风险的用户更换密码。目前,“防黑加固”针对黑客常用的攻击手段,进行了高达12项专项检测,可全面围堵服务器软肋,有效阻断黑客入侵通道。

10%用户服务器遭遇弱口令扫描!你的密码安全吗?
据360安全卫士监测显示,当前国内约10%的服务器会遭遇弱口令扫描,每天会有超过1%的服务器系统遭遇攻击。
黑客攻击服务器大多通过弱口令爆破后远程登录,黑客会使用自动化攻击脚本,用密码字典暴力破解管理员账号。如果密码设置比较简单,黑客入侵后一般会创建个“后门”账号实施秘密控制,伺机卸载服务器上的杀毒软件并植入各类病毒。
更严重的是,当局域网里有一台服务器被入侵控制后,黑客通常会在内网扫描入侵更多机器,造成大面积的病毒感染情况发生。
以勒索病毒为例,2017年开始,黑客将攻击重心转向服务器,约15%的勒索攻击是针对中小企业服务器发起的定向攻击。由于服务器数据的珍贵程度和不可恢复性更强,被勒索者支付赎金的意愿也相对更强。在GlobeImposter攻击事件中,黑客就提出了要求院方在6小时内为每台中找机器支付1个比特币(共约66000余元)赎金的要求。
自动检测密码安全! “防黑加固”全面斩断安全隐患
在服务器攻防领域,密码字典是重要的战略物资,安全厂商在这一领域也一直与黑客进行着军备竞赛。360“防黑加固”功能的升级,将密码排查库更新至最全版本,提供一键式弱密码检测,相当于从源头上提升了设备“防黑”能力。
值得注意的是,密码强弱只是影响服务器安全的一个因素,黑客还可能通过木马、钓鱼网站进行盗号,或者利用服务器的共享服务、远程协助服务、甚至某些安全策略直接攻击服务器。
不过,遇到这种情况也无需担心,“防黑加固”针对黑客常用的攻击手段,进行了包括“Windows空密码远程登录限制”、“远程协助服务”、“Admin管理共享”等多项专项检测;此外,360安全卫士也将对各类木马病毒进行全方位拦截,全面铲除服务器安全隐患。
马上验证:如何检测你的密码是否为“弱密码”
下载最新版本360安全卫士,在功能大全中打开“防黑加固”,点击“立即检测”,并在弹出的对话框中输入登录密码;

当密码存在风险时,请按照加固建议进行手动修改即可;

凤凰资讯官方微信
视频
-
李咏珍贵私人照曝光:24岁结婚照甜蜜青涩
播放数:145391
-
金庸去世享年94岁,三版“小龙女”李若彤刘亦菲陈妍希悼念
播放数:3277
-
章泽天棒球写真旧照曝光 穿清华校服肤白貌美嫩出水
播放数:143449
-
老年痴呆男子走失10天 在离家1公里工地与工人同住
播放数:165128




